НСП 35.10

Чертеж изделия:
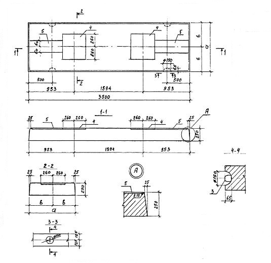
Характеристики изделия:
ПараметрЗначение
длина3500 мм
ширина1000 мм
высота250 мм
вес2190 кг
серияТП 13362тм

НСП 35.10 Плита фундамента для установки трансформаторов напряжением 35-500 кВ без кареток (катков) и рельс по проекту ТП 13362тм.