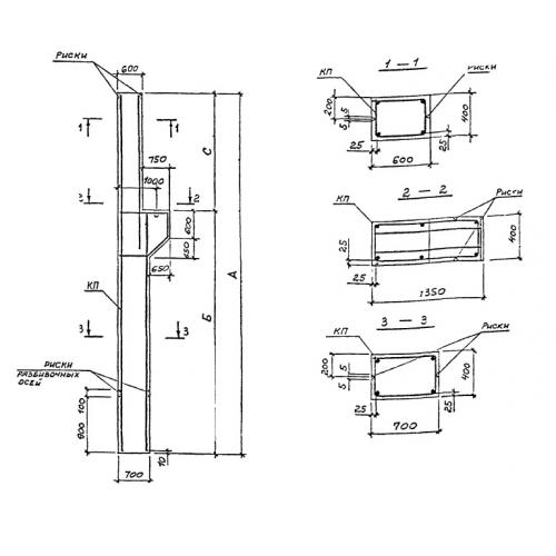
КК 132

Чертеж изделия:
Характеристики изделия:
ПараметрЗначение
длина14250 мм
ширина400 мм
высота1350 мм
вес11000 кг
Шифр2021-164.1

КК 132 Колонны по Шифру 2021-164.1.