РС 3

Чертеж изделия:
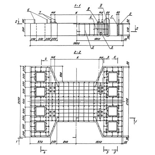
Характеристики изделия:
ПараметрЗначение
длина3800 мм
ширина2050 мм
высота500 мм
вес9500 кг
серия3.501.1-153

РС 3 Ростверки свайные по серии 3.501.1-153.