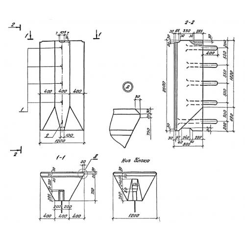
1К 12.25

Чертеж изделия:
Характеристики изделия:
ПараметрЗначение
длина1200 мм
ширина800 мм
высота2500 мм
вес4100 кг
серия3.501.1-150

1К 12.25 Блоки контурные рядовые по серии 3.501.1-150.