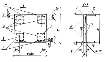
ПДУ 190.210.14 плиты днища
Характеристики изделия:
| Параметр | Значение |
|---|---|
| длина | 1870 мм |
| ширина | 2080 мм |
| высота | 140 мм |
| масса | 1350 кг |
| нормативный документ | Серия 3.006.1-8 |
Цена:
Рассчитать стоимостьПДУ 190.210.14 Плиты днища каналов угловые Серия 3.006.1-8.
| Параметр | Значение |
|---|---|
| длина | 1870 мм |
| ширина | 2080 мм |
| высота | 140 мм |
| масса | 1350 кг |
| нормативный документ | Серия 3.006.1-8 |
ПДУ 190.210.14 Плиты днища каналов угловые Серия 3.006.1-8.