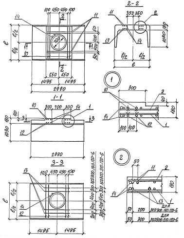
ЛКО 300.210.120 лотки
Характеристики изделия:
| Параметр | Значение |
|---|---|
| длина | 2990 мм |
| ширина | 2080 мм |
| высота | 1180 мм |
| масса | 4197 кг |
| нормативный документ | Серия 3.006.1-8 |
Цена:
Рассчитать стоимостьЛКО 300.210.120 Лотки каналов с отверстием Серия 3.006.1-8.
| Параметр | Значение |
|---|---|
| длина | 2990 мм |
| ширина | 2080 мм |
| высота | 1180 мм |
| масса | 4197 кг |
| нормативный документ | Серия 3.006.1-8 |
ЛКО 300.210.120 Лотки каналов с отверстием Серия 3.006.1-8.