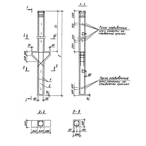
1СД 55

Чертеж изделия:
Характеристики изделия:
ПараметрЗначение
длина5500 мм
ширина600 мм
высота200 мм
вес610 кг
серия1.821.1-7

1СД 55 Сваи-колонны по серии 1.821.1-7.