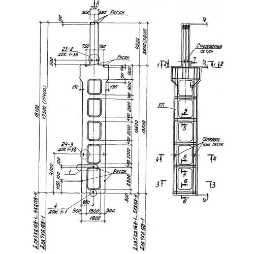
КД 168

Чертеж изделия:
Характеристики изделия:
ПараметрЗначение
длина18100 мм
ширина500 мм
высота2200 мм
вес20300 кг
серия1.424.1-9

КД 168 Колонны двухветвевые для каркасов зданий, оборудованных электрическими опорными подвесными кранами, или без них по серии  1.424.1-9.