К 52
Характеристики изделия:
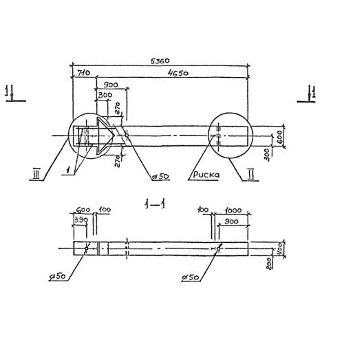
| Параметр | Значение |
|---|---|
| длина | 5360 мм |
| ширина | 400 мм |
| высота | 1140 мм |
| вес | 3300 кг |
| серия | 1.421.1-1.93 |
Цена:
Рассчитать стоимостьК 52 Колонны по серии 1.421.1-1.93.
| Параметр | Значение |
|---|---|
| длина | 5360 мм |
| ширина | 400 мм |
| высота | 1140 мм |
| вес | 3300 кг |
| серия | 1.421.1-1.93 |
К 52 Колонны по серии 1.421.1-1.93.
