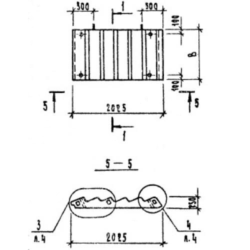
ЛМ 20.12.10 лестничные марши

Чертеж изделия:
Характеристики изделия:
ПараметрЗначение
длина2025 мм
ширина1200 мм
высота1050 мм
масса1120 кг
нормативный документСерия 1.151.1-7

ЛМ 20.12.10  Лестничные марши без фризовых ступеней Серия 1.151.1-7.