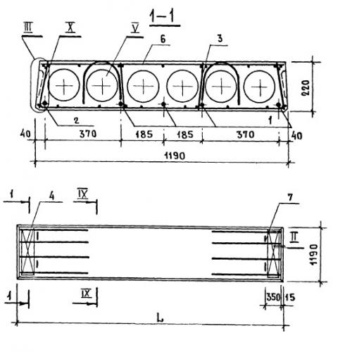
ПК 57.12 Плиты перекрытия железобетонные многопустотные

Чертеж изделия:
Характеристики изделия:
ПараметрЗначение
длина5680 мм
ширина1190 мм
высота220 мм
масса2000 кг
нормативный документСерия 1.141-1

ПК 57.12  Плиты перекрытия железобетонные многопустотные Серия 1.141-1.