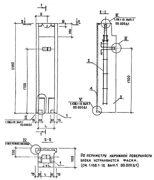
СБ 5.5-7.24.5-п-1.1

Чертеж изделия:
Характеристики изделия:
ПараметрЗначение
длина715 мм
ширина500 мм
высота2380 мм
масса1330 кг
нормативный документСерия 1.138.1-12

Серия 1.138.1-12

СБ – стеновые блоки наружных стен, тип блока 5 – парапетный блок.