Б 8
Характеристики изделия:
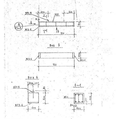
| Параметр | Значение |
|---|---|
| длина | 750 мм |
| ширина | 400 мм |
| высота | 400 мм |
| вес | 300 кг |
| серия | 1.125 КЛ-3 |
Цена:
Рассчитать стоимостьБ 8 Балки по серии 1.125 КЛ-3.
| Параметр | Значение |
|---|---|
| длина | 750 мм |
| ширина | 400 мм |
| высота | 400 мм |
| вес | 300 кг |
| серия | 1.125 КЛ-3 |
Б 8 Балки по серии 1.125 КЛ-3.
