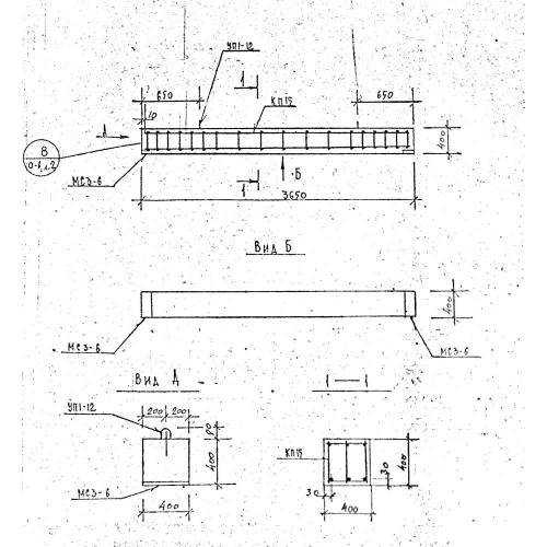
Б 36

Чертеж изделия:
Характеристики изделия:
ПараметрЗначение
длина3650 мм
ширина400 мм
высота400 мм
вес1450 кг
серия1.125 КЛ-3

Б 36 Балки по серии 1.125 КЛ-3.