3КНД 36.48

Чертеж изделия:
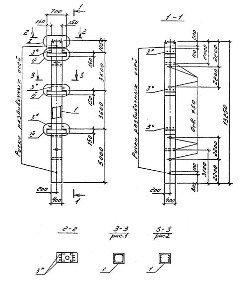
Характеристики изделия:
ПараметрЗначение
длина13250 мм
ширина400 мм
высота700 мм
масса5420 кг
нормативный документСерия 1.020.1-4

3КНД 36.48    Колонны двухконсольные для нижних этажей (Серия 1.020.1-4).

Маркировка с учетом диаметра угловых и промежуточных стержней арматуры, в мм. и марки бетона:

3КНД 36.48-3.20.00

3КНД 36.48-3.22.00

3КНД 36.48-3.28.00

3КНД 36.48-3.32.00

3КНД 36.48-3.36.00

3КНД 36.48-4.40.00 

3КНД 36.48-4.32.28

3КНД 36.48-5.36.32

3КНД 36.48-5.40.36