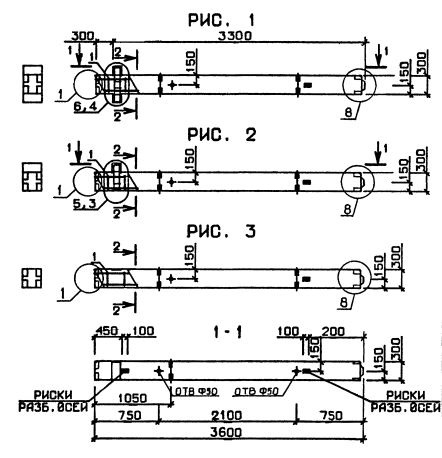
1К 3.36

Чертеж изделия:
Характеристики изделия:
ПараметрЗначение
длина3600 мм
ширина300 мм
высота300 мм
масса830 кг
нормативный документСерия 1.020.1-3пв

1К 3.36  Колонны Серия 1.020.1-3пв.