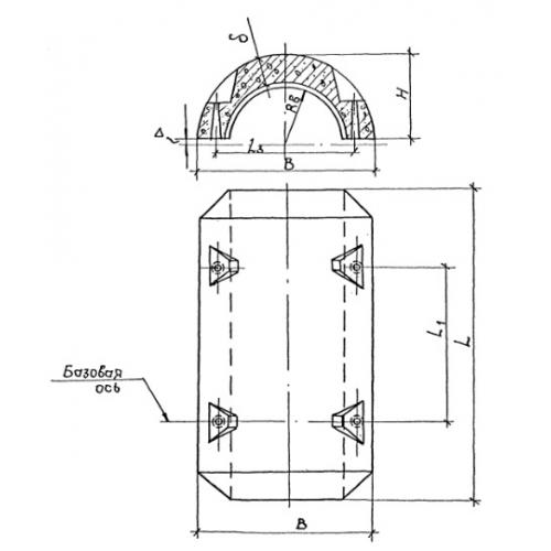
2УТК 530 утяжелители кольцевые

Чертеж изделия:
Характеристики изделия:
ПараметрЗначение
длина1200 мм
ширина880 мм
высота425 мм
масса368 кг
нормативный документПроект №998

2УТК 530  Утяжелители железобетонные кольцевые сборные для магистральных трубопроводов Проект №998.