ВТ 12

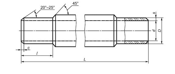
Чертеж изделия:
Характеристики изделия:
ПараметрЗначение
длина5000 мм
ширина122 мм
высота122 мм
масса52 кг
нормативный документГОСТ 31416-2009

ВТ 12   Асбоцементные напорные трубы ГОСТ 31416-2009.