К 4

Чертеж изделия:
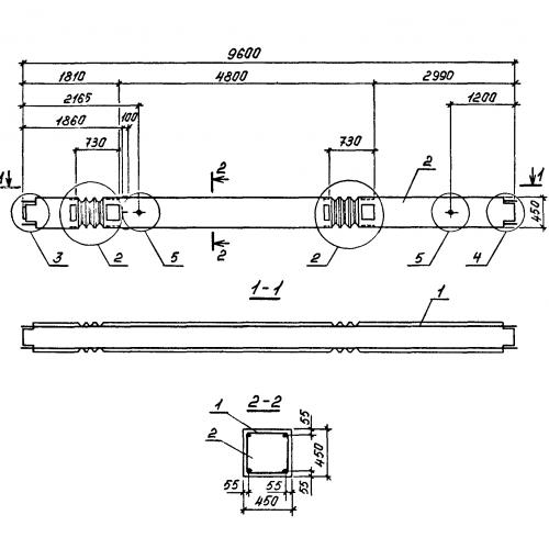
Характеристики изделия:
ПараметрЗначение
длина9600 мм
ширина450 мм
высота450 мм
масса4800 кг
нормативный документГОСТ 27108-86

К 4  Колонны ГОСТ 27108-86.